Design detailing

Design Detaling

When designing a structure which is to be hot dip galvanized, it must be borne in mind that articles are immersed into and withdrawn from a bath containing molten zinc heated to a temperature of 450ºC.

Design and fabrication is required to conform to acceptable standards which apply, regardless of whether a galvanized or a painted coating is to be applied. In the case of galvanizing, some additional requirements which aid access and drainage of molten zinc, will improve the quality of the coating and also reduce costs.

With certain fabrications, holes which are present for other purposes may fulfil the requirements of venting of air and draining of zinc; in other cases it may be necessary to provide extra holes for this purpose.

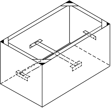
For complete protection, molten zinc must be able to flow freely over all surfaces of a fabrication. With hollow sections or where there are internal compartments, the galvanizing of the internal surfaces eliminates any danger of hidden corrosion occurring in service. 

Design detailing

If the design of an article includes sealed hollow sections guidance on correct venting and drainage must be incorporated

External stiffeners, welded gussets and webs on columns and beams and gussets in channel sections should have their corners cropped. The gaps created should be as large as possible without compromising structural strength. If welding is required around the edge created, a radiused corner is desirable, to facilitate continuity of the weld around the cut end to the other side. Circular holes are less effective; if used, they should be as close to corners and edges as practicable. Consultation with the galvanizer regarding the appropriate vent and drainage hole sizes is recommended. 

Design detailing

Angle bracings should, if possible, be stopped short of the main boom flange. This will allow the free flow of molten zinc across the surface of the flange, enhancing drainage from the structure. This will assist the development of a smoother galvanized coating, reduce the potential for retention of ash on the surface of the flange and help to avoid air traps within the structure, which could lead to uncoated areas. 

Internal diaphragms in large box sections should have cropped corners and a ‘manhole’. Internal diaphragms on small box sections should have cropped corners.

Large open top tanks should be stayed to minimise distortion. Where angles are used to rim the tank, appertures must be provided in the corners. Angles or flats used as stays should be as close as possible to the tank wall thickness. 

Additional guidance

Additional guidance for design of structural steelwork for hot dip galvanizing

In circumstances where, due to design restrictions, general design guidance (as set out above) cannot be followed and the introduction of holes or other fabrication features into the ‘K’ areas of a section (where the web and flange meet) is unavoidable, please consult GA to discuss how best to finalise the design of the fabrication. 

Cope cutting of beams is a common feature in modern steel construction. For optimum results during galvanizing, where flame-cut copes have been introduced into a fabrication, the following steps are recommended: 

It is very important when considering design detailing of steelwork for hot dip galvanizing that considerations for correct venting and drainage of sealed hollow sections are taken into consideration.

Size and shape

Bath Dimensions

In recent years, the size and capacity of galvanizing plants has increased significantly. Reference should be made to the galvanizing plants section for an indication of the bath sizes available in the UK and Republic of Ireland. When the length or depth of the item exceeds the size of the bath, special techniques may be employed to facilitate dipping, in this case advice must be sought from the galvanizer.

The design of the component may be important for successful galvanizing and early consultation between galvanizer, fabricator and designer is the key to obtaining the best result. Design features which aid the access and drainage of molten zinc will improve the quality of the coating (refer to Designing Articles for Galvanizing). 

The bath dimensions noted within the following pages indicate the length, depth and width of the galvanizing bath(s) at each works. These bath dimensions give an indication of maximum size of fabrication which can be processed at that plant. It is important to recognise that these dimensions do not, in themselves, represent the maximum size of fabrication which can be dipped. The precise maximum single dip size can be agreed with the galvanizer and will usually depend upon the angle of immersion and overall dimensions of the fabrication.

Articles which are larger than the bath dimensions can sometimes be galvanized by “double-dipping”. Here, the article is partially dipped in the zinc, removed, reversed for length or depth to allow dipping of previously uncoated section. Although generally it is preferable to process work in single dip, the corrosion protection offered through double dipping is no different to that provided in a single dip. Sizes of articles which can be double-dipped should always be agreed with the galvanizer.

Connections, handling and masking

Connections

Galvanized articles can be joined by bolting (including friction grip connections), welding, riveting and adhesive bonding. Bolted joints are best made after galvanizing.

Handling of articles

Depending upon size and shape, articles for galvanizing may require suspension holes or lifting lugs. They may alternatively be handled by chains or, for smaller articles, on racks or in baskets. In the case of tanks (in particular, open tanks), cross stays may be necessary to ensure the shape of the vessel is maintained during handling.

Overlapping surfaces

Overlapping surfaces should be avoided as far as possible. Care must be taken not to specify sealed articles for galvanizing. If overlaps are completely sealed by welding there is a risk of explosion during dipping due to increased pressure of any entrapped air. This risk can be mitigated against by drilling holes through both sections of the overlapping area or intermittence of welding. Guidance on the size and frequency of holes / intermittence of welds is given in EN ISO 14713-2 or GA Datasheet 18.

Castings

Castings must be grit blasted before galvanizing as embedded sand from the casting process cannot be removed by conventional chemical cleaning. When designing castings to be galvanized, features such as sharp corners and deep recesses should be avoided as these may develop excessive distortion and thermal stresses during hot dip galvanizing. Large fillet radii and uniform section thickness are also desirable.

Moveable parts

Adequate clearance on mating surfaces, such as hinges, should be allowed if they are to move freely after galvanizing. An extra clearance of at least 1mm is usually sufficient.

Masking

If certain areas of steelwork need to remain uncoated this can be achieved by masking, using high temperature tape, grease or paint. Again, the galvanizer should be consulted about any areas required to be masked.
Related reading
Can’t find what you looking for?

Allow us to assist you

Scroll to Top
Iqbal Johal
Marketing Manager

Contact us for free guidance on specification, performance or design.